【EC】注文の確認・キャンセル・ステータス変更はどうする?
更新日:2025/07/11
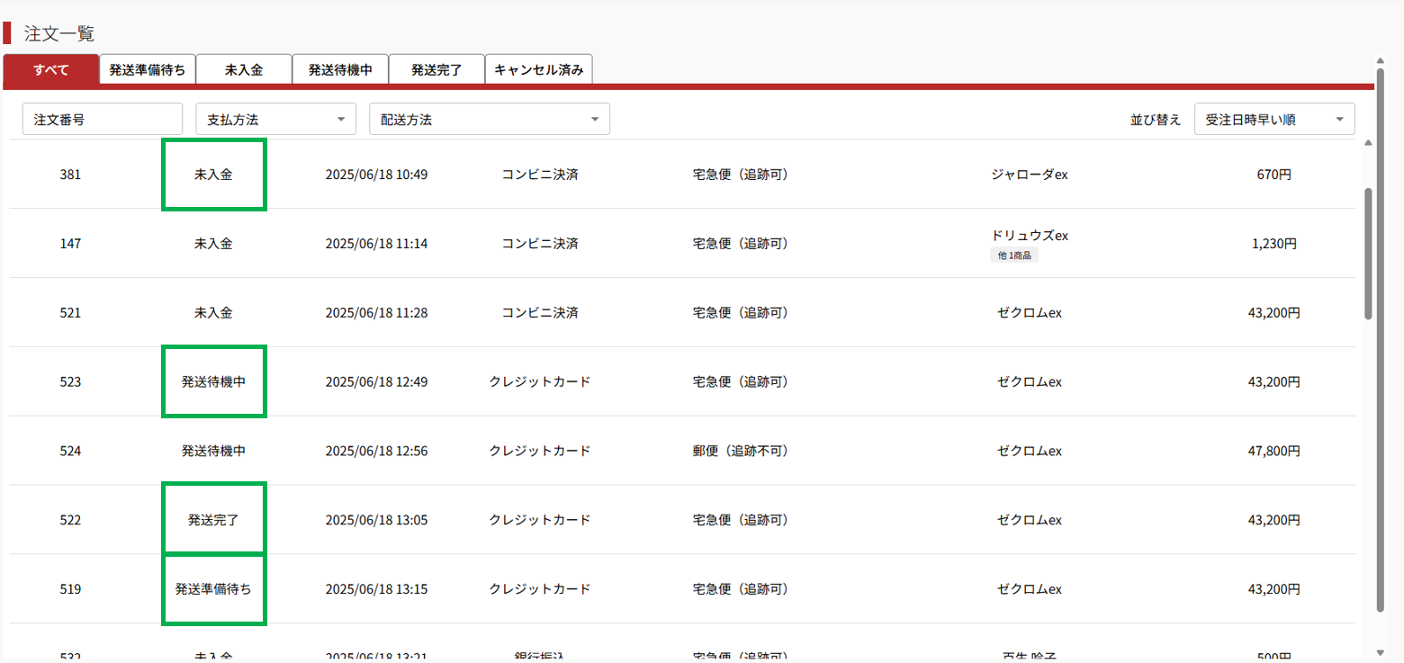
ご注文内容は注文一覧でご確認いただけます。
各ステータスの意味は以下の通りです。
未入金: コンビニ支払いや銀行振込で、まだ入金が確認されていない注文です。これらの支払い方法で注文を受けたときにこのステータスになります。
発送準備待ち: コンビニ支払いや銀行振込で入金が確認されたもの、およびクレジットカード決済や代金引換で、まだ発送準備が完了していない注文です。”未入金”のものが入金されたときに自動又は手動で変わるか、その他の販売方法で文を受けたときにこのステータスになります。
発送待機中: 発送準備が完了した注文です。”発送準備待ち”のものを発送準備完了することでこのステータスに変わります。
発送完了: 商品の発送が完了した注文です。”発送待機中”のものを発送完了することでこのステータスに変わります。
キャンセル済み: 注文がキャンセルされたものです。
注文のキャンセル方法
”未入金”,”発送準備待ち”のものがキャンセル可能です。注文をキャンセルするには、注文詳細画面の「注文をキャンセル」を押し、警告画面で再度「キャンセルする」を選択してください。





